Каталог товаров
- Главная
- Сантехника инженерная и водоснабжениеАвтоматика и шкафы управления для отопленияБлоки управления и контроллерыВоздухоотводчикиГидроаккумуляторыГрязевикиДатчики давленияДетали трубопроводовЗадвижкиЗапчасти для запорной арматурыЗатворы поворотныеИнструмент сантехникаКанализационное оборудованиеКлапаны и комплектующиеКоллекторы, коллекторные группы, распределительные узлыКомплектующие для КИПиАКонденсатоотводчикиКраны водоразборныеКраны для манометровКраны конусныеКраны шаровыеЛюки и дождеприемникиМанометрыМуфты для трубНасосы, насосные станции и мотопомпыПодводка гибкаяРасширительные баки и емкостиРегуляторы давления бытовыеРеле давленияСантехнический крепежСгоны, бочата, резьбы и отрезки трубСчетчики ХВС и ГВСТеплоизоляция, уплотнения, защитные покрытияТеплосчетчики и комплектующиеТермоманометрыТермометры и оправыТройникиТрубы и фитингиФильтры и запчасти для фильтровШкафы коллекторныеЭлеваторы и элеваторные узлыЭлектроприводы, редукторы для запорной арматуры
- Коллекторы, коллекторные группы, распределительные узлы
- Модуль оконечный этажного узла учета воды МОВ 01 СОТИС-Unit - МОВ 25-01
Модуль оконечный этажного узла учета воды МОВ 01 СОТИС-Unit - МОВ 25-01
- Обзор
- Характеристики
- Отзывы0
Модуль оконечный МОВ СОТИС-Unit предназначен для установки на узел учета воды УУВМ-Э в качестве сервисного устройства.
Модуль оконечный МОВ 01 СОТИС-Unit выполняет функцию глухой пробки коллекторного модуля МКВ в узле учета УУВМ-Э. Устанавливается на этажных трубопроводах систем ХВС и ГВС. Применяется в любом монтажном положении.
Расшифровка наименования модуля:
МОВ - модуль оконечный водоснабжения
25 - диаметр условного прохода присоединительного фитинга модуля (Ду25)
01 - порядковый номер модуля в библиотеке типовых решений СОТИС-Unit
Комплект:
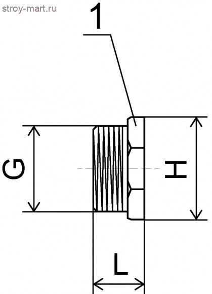
1. пробка глухая.
| L, мм | 17 |
| G, " | 1 |
| H1, мм | 39 |
| Материал | латунь ЛС-59 |
| Присоединение патрона | резьбовое |
| Рабочее давление PN, Мпа | 1 |
| Среда рабочая | вода |
| Температура рабочей среды | +90 |
| Управление | - |
| Бренд | Сотис |
| Вес, кг | 0.1 |




