Каталог товаров
- Главная
- Сантехника инженерная и водоснабжениеАвтоматика и шкафы управления для отопленияБлоки управления и контроллерыВоздухоотводчикиГидроаккумуляторыГрязевикиДатчики давленияДетали трубопроводовЗадвижкиЗапчасти для запорной арматурыЗатворы поворотныеИнструмент сантехникаКанализационное оборудованиеКлапаны и комплектующиеКоллекторы, коллекторные группы, распределительные узлыКомплектующие для КИПиАКонденсатоотводчикиКраны водоразборныеКраны для манометровКраны конусныеКраны шаровыеЛюки и дождеприемникиМанометрыМуфты для трубНасосы, насосные станции и мотопомпыПодводка гибкаяРасширительные баки и емкостиРегуляторы давления бытовыеРеле давленияСантехнический крепежСгоны, бочата, резьбы и отрезки трубСчетчики ХВС и ГВСТеплоизоляция, уплотнения, защитные покрытияТеплосчетчики и комплектующиеТермоманометрыТермометры и оправыТройникиТрубы и фитингиФильтры и запчасти для фильтровШкафы коллекторныеЭлеваторы и элеваторные узлыЭлектроприводы, редукторы для запорной арматуры
- Манометры
- Модуль оконечный этажного узла учета воды МОВ 06 СОТИС-Unit - МОВ 25-06
Модуль оконечный этажного узла учета воды МОВ 06 СОТИС-Unit - МОВ 25-06
- Обзор
- Характеристики
- Отзывы0
Модуль оконечный МОВ СОТИС-Unit предназначен для установки на узел учета воды УУВМ-Э в качестве сервисного устройства.
Модуль оконечный МОВ 06 СОТИС-Unit выполняет функцию контроля давления и слива воды в узле учета УУВМ-Э. Устанавливается на этажных трубопроводах систем ХВС и ГВС. Применяется только в горизонтальном монтажном положении.
Расшифровка наименования модуля:
МОВ - модуль оконечный водоснабжения
25 - диаметр условного прохода присоединительного фитинга модуля (Ду25)
06- порядковый номер модуля в библиотеке типовых решений СОТИС-Unit
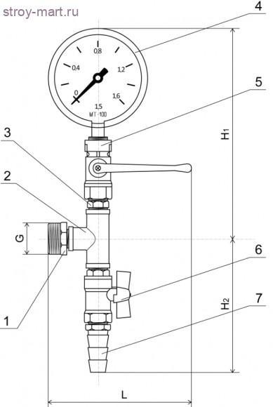
Комплект:
1. ниппель переходной;
2. тройник 90;
3. ниппель прямой;
4. манометр технический (1,6 МПа);
5. кран шаровой трехходовой для манометра с отводом под контрольный манометр;
6. кран шаровой;
7. Штуцер сливной D=16мм
| L, мм | 130 |
| G, " | 1 |
| H1, мм | 198 |
| H2, мм | 97 |
| Материал | латунь ЛС-59 |
| Присоединение патрона | резьбовое |
| Рабочее давление PN, Мпа | 1 |
| Среда рабочая | вода |
| Температура рабочей среды | +90 |
| Управление | Ручное |
| Бренд | Сотис |
| Вес, кг | 0.98 |




